Apple dường như đang nghiêm túc đầu tư cho tương lai của làm việc từ xa. Vào năm ngoái, gã khổng lồ công nghệ đã đăng ký bằng sáng chế cho một thiết bị bàn phím đặc biệt với một phím có thể được tháo rời ra để sử dụng như con chuột, loại bỏ việc phải mang theo một con chuột máy tính cồng kềnh đi khắp nơi. Giờ đây, Apple lại chơi lớn hơn khi xem xét việc lắp toàn bộ chiếc máy tính vào bên trong bàn phím.

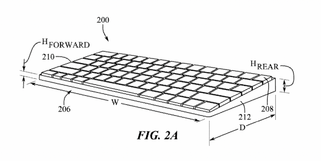
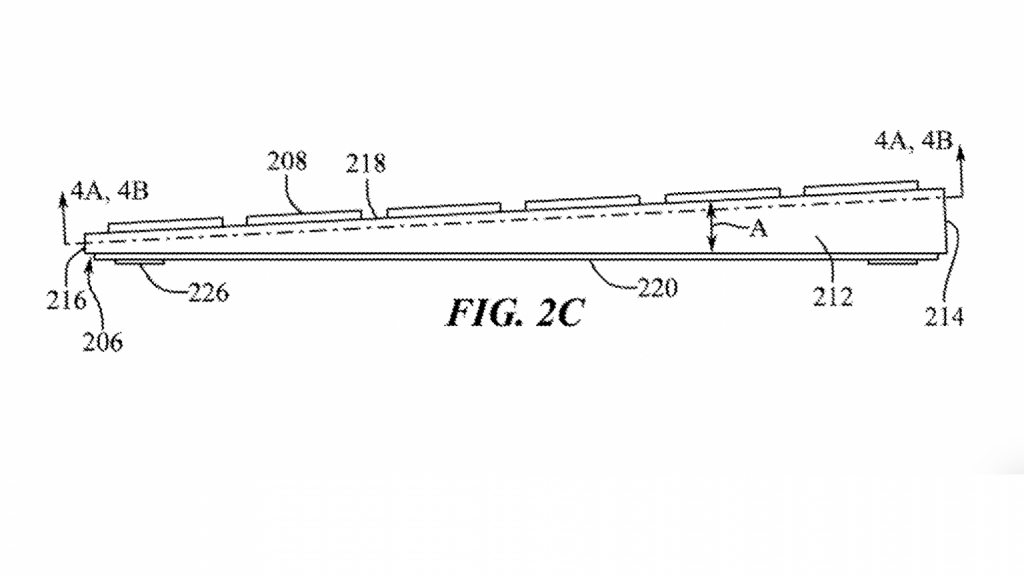
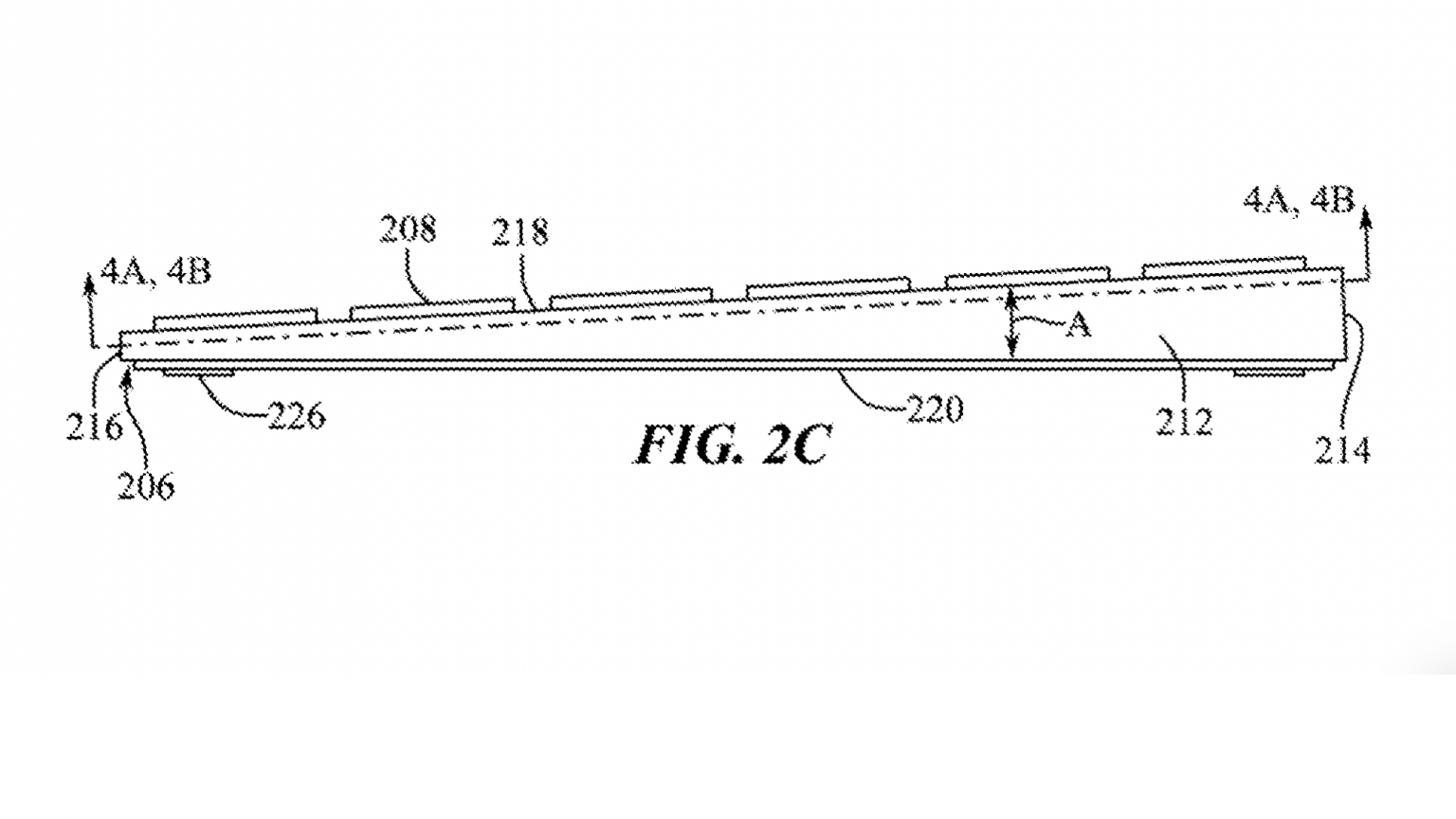
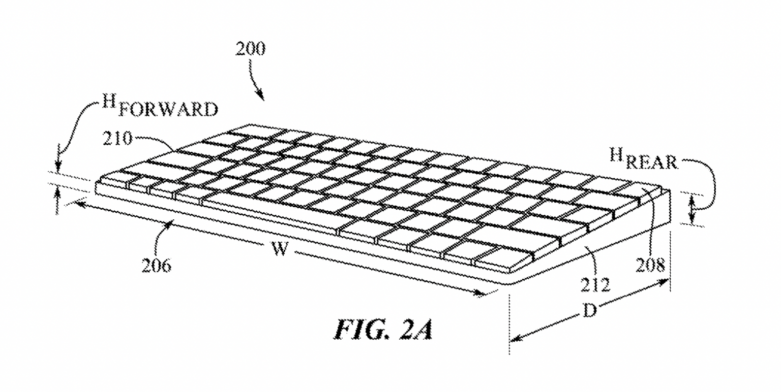
Tháng trước, Văn phòng Sáng chế & Nhãn hiệu Hoa Kỳ đã công bố hồ sơ đăng ký bằng sáng chế cho thiết bị trông giống như Magic Keyboard với một máy tính được tích hợp sẵn bên trong. Đây có vẻ như một bản nâng cấp cho Mac Mini cực nhỏ gọn (và rất có thể là cả chiếc Mac Studio vừa được ra mắt) cho phép người dùng cắm nó vào bất kỳ màn hình máy tính nào và có ngay một máy Mac hoạt động đầy đủ, hoàn chỉnh đi kèm với bàn phím.

Công ty có giá trị vốn hoá lớn nhất hành tinh cho rằng thay vì phải mang theo một chiếc máy tính xách tay cùng nhiều dây cáp hoặc thậm chí cả “tháp” CPU đi khắp nơi một cách vô cùng bất tiện, người dùng chỉ cần bỏ thiết bị cá nhân nhỏ gọn này vào túi của họ. Bàn phím cũng sẽ có bàn di chuột (trackpad), đồng nghĩa với việc không cần thiết phải có chuột rời.


Với việc toàn bộ máy tính nằm bên trong bàn phím, thiết bị này sẽ có nguy cơ bị nóng. Chính vì vậy Apple cũng đang nghĩ đến việc hạn chế điều này bằng cách thêm vào một cơ chế tản nhiệt cho bàn phím. Bên cạnh đó, họ cũng đang xem xét giải pháp đế “dẫn nhiệt” được làm bằng các vật liệu như đồng, nhôm, đồng thau, và thép để phân tán nhiệt, cũng như một CPU có thể “giao tiếp nhiệt” để làm mát và đảm bảo thiết bị hoạt động một cách tối ưu.

Tuy nhiên, cũng như hầu hết các bằng sáng chế của Apple, công nghệ này hiện chỉ đang ở dạng concept – ít nhất là ở thời điểm hiện tại.
Ảnh: Apple & US Patent & Trademark Office































Để lại đánh giá